ags

 
 

Запасные части и кодировка

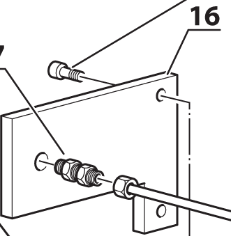
ЦЕПЬ ДАВЛЕНИЯ компрессоров МСН-3 - МСН-5

1

2
3
4,5,6
5,6,7

5,6

8
9
10
11
12,13
14
15
16
17
18

 

КОД
НАЗВАНИЕ
1  VITE0620    крепежный винт
2  13-00-0083    крепежная пластина
3  VITE0640    крепежный винт
4  13-00-0198/CNG  фиксировочная крепежная пластина
5  13-00-0087  крепежный винт
6  13-00-0137  крепежная гайка
7  13-00-0199/CNG  фиксировочная крепежная пластина
8  05-00-0089  охлаждающая трубка 1-й стадии
9  05-00-0085  охлаждающая трубка 2-й стадии
10  VITE0830  крепежный винт
11  13-00-0133/TR  крепежная пластина
12  13-00-0134/1/1  фиксировочная крепежная пластина
13  13-00-0136  крепежная пластина
14  05-03-0023  охлаждающая трубка 2-й стадии
15  VITE0825E крепежный винт
16  05-00-013    крепежная пластина
17  RACC/PASS/7/16/8  штуцер
18  05-00-0095  трубка

прайс

.. ..


О компании

ПРАЙС-ЛИСТ (новые цены)

Видео

ФОТО

НАПИШИТЕ НАМ

Региональные представители

СОТРУДНИЧЕСТВО

Официальный представитель

При поддержке NIC.UA 

 

Copyright © 2014 ООО Стожары Все права защищены.